Montáže
- 
				dalas
- Administrátor
- Příspěvky: 3515
- Registrován: úte 25.9.2007, 8:08
- Bydliště: Brno, honitba Žďársko
Re: Montáže
Dle mého názoru, aby bylo dosednutí montáže přesně definováno a bylo opakovatelné, musí vertikální i horizontální pozici definovat pevné plochy. Pokud je tato pozice určena pohyblivými plochami, lze to asi tolerovat jen v případě, že montáž nebude opakovaně sundávána bez ověření nastřelení. Za mne tedy horní a jedna boční. Pohyblivý kus jen fixuje v pozici.
			
			
									
									Tikka T3 Varmint 308W, Weatherby Mark V Accumark .300Win. Mag., IZH94 12x76/308W, IZH 27 EM 12x76/12x76, Suhl 150 Standard .22LR
						- 
				pufr
- Zkušený diskutér
- Příspěvky: 2906
- Registrován: ned 10.2.2008, 20:04
- Bydliště: Kousek západně od Prahy
Re: Montáže
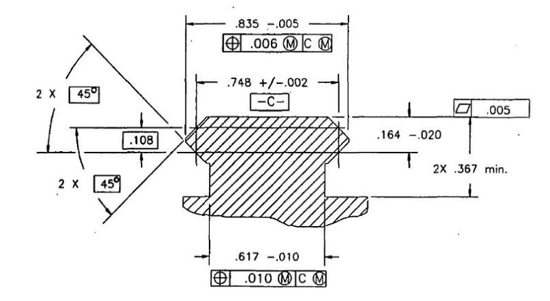
To je právě ta věc, jak píše Dalas - ne o nějaké unifikaci ale v obecné poloze - o montáži. Když se podíváš na normu pro Picatinny lištu, některé rozměry mají tolerance v tisícinách palce a některé jen v setinách palce. Dvě setiny palce jsou víc než 0,5 mm. Spoléhat se na takhle "tolerovaný" rozměr výrobku by asi nebylo moc rozumné ...
 
 Pokud ale jde o jednu určitou montáž, pro jednu určitou lištu a ještě k tomu ta montáž umožní nějaké nastavení, seřízení, pak asi nemusí být problém, i když se bude na Picatinny opírat i jinde než na bočních skosených plochách - jak by správně měla ...
Teda dokud nějaký "bouchanec" některou plochu nezdeformuje, ale to může boční hranu i horní plochu ...
O složitější situaci tu nedávno mluvil Vasil - náš praktik "par excellence," že majitel "multizeroingové" optoelektroniky požaduje aby u všech pušek, které má uložené v paměti zaměřovače, jen zaklapnul páčku montáže, nic nemusel seřizovat a montáž na všech puškách / "Picatinnách" od různých výrobců perfektně seděla. Tam se pak i ty tolerance v tisícinách palce / setinách milimetru parádně projeví

Typicky se "houpou" nesprávně uložené "násuvné" montáže na kulobrocích řady Brno 500, znám i případy, kdy kvůli takové montáži majitel pušku jako nespolehlivou levně prodal ...

Že zkroucené pouzdro závěru (CZ550), tedy vlastně zkroucená lišta, je v tomhle směru úplně geniální pastička, na kterou se dá i kvalitní montáž upnout třeba deseti různými způsoby je taky jasné ...
 Takže "přímost" (viz třeba zde https://e-konstrukter.cz/prakticka-info ... -tolerance) je další parametr Weaver / Picatinny nebo i jiné lišty pro upevnění zaměřovače
 Takže "přímost" (viz třeba zde https://e-konstrukter.cz/prakticka-info ... -tolerance) je další parametr Weaver / Picatinny nebo i jiné lišty pro upevnění zaměřovače  
Pufr
						Re: Montáže
Dík za názory a odkazy. Nešlo mne o zaměnitelnost montáží mezi více zbraněmi. Zajímá mne dle čeho se řídit při výběru kvalitní a trvanlivé montáže tj. na kterých plochách má být upnuta. Pufr píše že by se měla opírat o boční skosené plochy, myslím si to samé. Na odkazu níže jsou označeny ale obě varianty usazení, zdá se tedy že ani jedno není špatně. Můj dotaz tedy zní - kterou z variant upnutí preferujete a proč.
https://www.catalystarms.com/tech-talk- ... ssory-rail
			
			
									
									
						https://www.catalystarms.com/tech-talk- ... ssory-rail
Re: Montáže
Já rozhodně NATO. Zahákneš,položíš na VELKOU horní plochu a pravou spodní dotáhneš. Má to logiku a funguje to. Dělám si Picatinny a montáže takto léta (a ne jen pro sebe) a funguje to . Zmršit se dá samozřejmě vše. Pokud dodržuješ tolerance a rovinnosti , lištu podlepíš aby zůstala rovná a ne že ji dorveš ke křivé ploše pouzdra(býva často křivá) není co řešit. Jelikož si dělám picatinny pořád ve stejných rozměrech,pak mi pasují ty utahovací polohy stejně a nemusím nic dobrušovat,jak řešil Vasil. Lišty VŽDY podlepuji. Nepodlepená lišta na čtyřech pidišroubcích .....  . A navíc pokud to vyrábím a aspoň trošku to jde,dělám závity v pozdře M4 a klidně i třeba 5 závitů a jeden kolík pr.3,00mm. Pak se na to opravdu můžu spolehnout . M4 šroubek je úplně někde jinde než ty origo sráče.O dostupnosti se ani nebavím. Je to má zkušenost z mnoha přesných flint kde to prostě funguje. Ale nikomu to netlačím.Dnes je mnoho odborníků všude.
 . A navíc pokud to vyrábím a aspoň trošku to jde,dělám závity v pozdře M4 a klidně i třeba 5 závitů a jeden kolík pr.3,00mm. Pak se na to opravdu můžu spolehnout . M4 šroubek je úplně někde jinde než ty origo sráče.O dostupnosti se ani nebavím. Je to má zkušenost z mnoha přesných flint kde to prostě funguje. Ale nikomu to netlačím.Dnes je mnoho odborníků všude. 
			
			
									
									
						 . A navíc pokud to vyrábím a aspoň trošku to jde,dělám závity v pozdře M4 a klidně i třeba 5 závitů a jeden kolík pr.3,00mm. Pak se na to opravdu můžu spolehnout . M4 šroubek je úplně někde jinde než ty origo sráče.O dostupnosti se ani nebavím. Je to má zkušenost z mnoha přesných flint kde to prostě funguje. Ale nikomu to netlačím.Dnes je mnoho odborníků všude.
 . A navíc pokud to vyrábím a aspoň trošku to jde,dělám závity v pozdře M4 a klidně i třeba 5 závitů a jeden kolík pr.3,00mm. Pak se na to opravdu můžu spolehnout . M4 šroubek je úplně někde jinde než ty origo sráče.O dostupnosti se ani nebavím. Je to má zkušenost z mnoha přesných flint kde to prostě funguje. Ale nikomu to netlačím.Dnes je mnoho odborníků všude. 
- 
				dalas
- Administrátor
- Příspěvky: 3515
- Registrován: úte 25.9.2007, 8:08
- Bydliště: Brno, honitba Žďársko
Re: Montáže
Důležitější než o kterou plochu se montáž opírá je její provedení. Například Innomount dovolí oba způsoby s opakovatelnou přesnou fixací. 
Detail provedení Innomount
Naproti tomu tohle provedení (nevím, k čemu to je. Made in Belarus) zajistí jakous takous fixaci a opakovatelnost, bude-li se opírat o horní plochu. Vzhledem k vůlím dotahovacího segmentu, nemusí být upnutí za boční plochy stabilní.
			
			
									
									Naproti tomu tohle provedení (nevím, k čemu to je. Made in Belarus) zajistí jakous takous fixaci a opakovatelnost, bude-li se opírat o horní plochu. Vzhledem k vůlím dotahovacího segmentu, nemusí být upnutí za boční plochy stabilní.
Tikka T3 Varmint 308W, Weatherby Mark V Accumark .300Win. Mag., IZH94 12x76/308W, IZH 27 EM 12x76/12x76, Suhl 150 Standard .22LR
						Re: Montáže
Jiskra  - Všetko O.K. až na ten pidi-kolík  ( pr.3,00mm ) ; ja by som tam dal  Ø 5 mm .  
			
			
													
					Naposledy upravil(a) lanus dne úte 23.2.2021, 15:04, celkem upraveno 1 x.
									
			
									308 Win.;223 Rem.;22 l.r. .
						Re: Montáže
Kolík pr 3, nebo max. 4mm udrží slona. Co se týká polohy. Na to tam je. Jen pomáhá šroubkům. Neboj, neustřihne se. Tak musíš být i nějaký estét a ne kovář ( nic proti kovářům). To bys to rovnou mohl heftnout laserem, tigem. 
			
			
									
									
						Re: Montáže
Díky pánové, ta informace od Jiskry je to co jsem chtěl vědět. Pokud je to praxí a opakovatelně použito a "nezlobí" to, tak mám jasno. Lišty mám podlepené a šroubky snad dostatečné (M4), kolík ale  není, zvažuji ten svár  
 
Staří praktici, myslím tedy ty kováře, pro upevnění svářečkou měli strojařský výraz že je to uložení H fest
			
			
									
									
						 
 Staří praktici, myslím tedy ty kováře, pro upevnění svářečkou měli strojařský výraz že je to uložení H fest

Re: Montáže
Jiskra - Zušľachtený kolík sa samozrejme neustrihne; problém   však môže vzniknúť v dôsledku  rôzneho materiálu  líšt (nebol definovaný), preto radšej pre každý prípad hrubší a samozrejme v slepej diere kvôli estetike lokalizovaný . 
			
			
									
									
308 Win.;223 Rem.;22 l.r. .
						- Michal_123
- Zkušený diskutér
- Příspěvky: 1154
- Registrován: úte 26.11.2013, 20:16
Re: Montáže
Je nutné lapovat jednodílnou montáž Innomount? Dáváte něco pod oka, nebo to bude v pohodě přímo na puškohled? Dík moc.
			
			
									
									
						- 
				pufr
- Zkušený diskutér
- Příspěvky: 2906
- Registrován: ned 10.2.2008, 20:04
- Bydliště: Kousek západně od Prahy
Re: Montáže
Innomount jsem měl s "kroužky" jen jeden a ten jsem zkontroloval a nebyl tam žádný náznak nesouososti, tak jsem ani nic nelapoval.
Do objímek obvykle dávám malinkou kuličku (cca 2 - 3 mm) dvojsložkového epoxydového tmelu s delší dobou vytvrzení (15 minut). A to dolu pod tubus i nahoru nad tubus. Plochy před tím neodmašťuju. Pomalu symetricky dotahuju a kontroluju "vertikálu" osnovy. Když mám vypažbenou, srovnanou zbraň ve svěráku dávám na horní točítko / věžičku vodováhu atd. Ze spáry objímek začne lézt vytlačený tmel - ve vrstvě tenké jak žiletka, ten vždycky nějakou špičkou nebo jehlou odškrábnu. Šroubky objímek dotahuju tak na 1 - 1,25 Nm. Teprve až zbytek rozdělaného tmelu co leží na stole vedle ztvrdne, pak dotáhnu na 2 Nm.
Mám vyzkoušené, že běžný epoxidový tmel jde po demontáži z neodmaštěných ploch tubusu i objímek odškrabat nehtem nebo nějakou plastovou hranou. A říkám si pro sebe, že pokud by se tubus v objímkách posunul, tak bych to na tom lepidle někde viděl. Ale ještě nikdy se mi to u takhle zalepeného dalekohledu nestalo (včetně ATN s 80 mm objektivem 
    
    ).
   ).
			
			
									
									Do objímek obvykle dávám malinkou kuličku (cca 2 - 3 mm) dvojsložkového epoxydového tmelu s delší dobou vytvrzení (15 minut). A to dolu pod tubus i nahoru nad tubus. Plochy před tím neodmašťuju. Pomalu symetricky dotahuju a kontroluju "vertikálu" osnovy. Když mám vypažbenou, srovnanou zbraň ve svěráku dávám na horní točítko / věžičku vodováhu atd. Ze spáry objímek začne lézt vytlačený tmel - ve vrstvě tenké jak žiletka, ten vždycky nějakou špičkou nebo jehlou odškrábnu. Šroubky objímek dotahuju tak na 1 - 1,25 Nm. Teprve až zbytek rozdělaného tmelu co leží na stole vedle ztvrdne, pak dotáhnu na 2 Nm.
Mám vyzkoušené, že běžný epoxidový tmel jde po demontáži z neodmaštěných ploch tubusu i objímek odškrabat nehtem nebo nějakou plastovou hranou. A říkám si pro sebe, že pokud by se tubus v objímkách posunul, tak bych to na tom lepidle někde viděl. Ale ještě nikdy se mi to u takhle zalepeného dalekohledu nestalo (včetně ATN s 80 mm objektivem
 
    
    ).
   ).Pufr
						Re: Montáže
montoval jsem jich určitě 5, stejně jako u Reck, tak i u Innomountu ale i u Kozapů kroužky ladím a utahuju na broušený trn D30 (25,4)mm. Kroužky najemno přitáhnu, do kroužků vložím válec, utáhnu kroužky, pak dotahuju kroužky k základně. Nikdy jsem Inno ani Reck nelapoval. 
Na co je potřeba dát si u Inomontu pozor, je výška kroužků. U některých jejich montáží není odlehčení uprostřed a kroužky, které jsou utopené do základny způsobí, že kroužek výšky 3mm neznamená že mezi trubkou tubusu a základnou montáže vzniká mezera 3mm, je to míň..( tu hodnotu utopení si nepamatuju). Třeba Meopta R2 má spodní plošku téměř zároveň s trubkou, ale jiné jsou obvykle bachratější.
Pufře, ten moment 2Nm je podle mě zobecněný a bral bych je jako mezní hodnotu. Samozřejmě, pokud máš praxi, že Zeiss, Swaro a jiné to snesou, je potřeba mít na paměti, že v laciným puškohledu se dá udělat otisk i kvalitní montáží při 1,5Nm
			
							Na co je potřeba dát si u Inomontu pozor, je výška kroužků. U některých jejich montáží není odlehčení uprostřed a kroužky, které jsou utopené do základny způsobí, že kroužek výšky 3mm neznamená že mezi trubkou tubusu a základnou montáže vzniká mezera 3mm, je to míň..( tu hodnotu utopení si nepamatuju). Třeba Meopta R2 má spodní plošku téměř zároveň s trubkou, ale jiné jsou obvykle bachratější.
Pufře, ten moment 2Nm je podle mě zobecněný a bral bych je jako mezní hodnotu. Samozřejmě, pokud máš praxi, že Zeiss, Swaro a jiné to snesou, je potřeba mít na paměti, že v laciným puškohledu se dá udělat otisk i kvalitní montáží při 1,5Nm
- Přílohy
- 
			
		
				- montage-innomount-34-mm-medium-weaver-picatinny.jpg (32.63 KiB) Zobrazeno 6687 x
 
- 
				pufr
- Zkušený diskutér
- Příspěvky: 2906
- Registrován: ned 10.2.2008, 20:04
- Bydliště: Kousek západně od Prahy
Re: Montáže
Jojo, pravdu díš, 2 Nm na šroubkách objímek mohou být nad limit pevnosti materiálu některých tubusů  
V posledních letech do všech kolem hučím, ať si kupují skla se "šínou", u které mě uspokojuje ta volnost pohybu dopředu, dozadu. No ale Deon "šíny" nedělá, že 
    
   
			
			
									
									
V posledních letech do všech kolem hučím, ať si kupují skla se "šínou", u které mě uspokojuje ta volnost pohybu dopředu, dozadu. No ale Deon "šíny" nedělá, že
 
    
   
Pufr
						Re: Montáže
s těma šínama odpadá i to věčné dilema: Držím to blbě nebo mám puškohled nakřivo? Prostě to držím blbě   
 
K těm momentům, nedávno jsem po jednom lokálním puškaři rozdělával puškohled. Když mi nestačila síla šroubováku, musela přijít na řadu mini ráčna. Zvuk povolování připomínal povolování šroubů kol. Montáž měla naštěstí kvalitní šrouby a hlavičky to vydržely, ale puškohled pod kroužky už dopadl o poznání hůř. Tubus na sračky...
Počítám, že to musel mačkat na 3-4Nm
			
			
									
									
						 
 K těm momentům, nedávno jsem po jednom lokálním puškaři rozdělával puškohled. Když mi nestačila síla šroubováku, musela přijít na řadu mini ráčna. Zvuk povolování připomínal povolování šroubů kol. Montáž měla naštěstí kvalitní šrouby a hlavičky to vydržely, ale puškohled pod kroužky už dopadl o poznání hůř. Tubus na sračky...
Počítám, že to musel mačkat na 3-4Nm
Re: Montáže
Hezký den všem,
Chtěl bych se prosím zeptat, zda máte někdo zkušenost s touto montáží:
https://www.optics-trade.eu/en/makfix-r ... -0-mm.html
Chci něco, co by šlo na Browning X-Bolt SF Thumbhole, nahoru přijde Vortex Razor LHT 3-15x50, tubus 30mm.
Tahle montáž mi přišla OK. Raději bych měl přímou než Weaver.
Je to dobrá volba?
			
			
									
									
						Chtěl bych se prosím zeptat, zda máte někdo zkušenost s touto montáží:
https://www.optics-trade.eu/en/makfix-r ... -0-mm.html
Chci něco, co by šlo na Browning X-Bolt SF Thumbhole, nahoru přijde Vortex Razor LHT 3-15x50, tubus 30mm.
Tahle montáž mi přišla OK. Raději bych měl přímou než Weaver.
Je to dobrá volba?

