Sauer 202
Re: Sauer 202
bacha ale len pazba s licnicou!
- Čouda
- Pravidelný diskutér
- Příspěvky: 196
- Registrován: pát 08.6.2007, 15:15
- Bydliště: Plzeň-sever (sičí ráj)
Re: Sauer 202
Ahojky lidi, obracím se na vás s prosbou. Kamarád má Sauer 202 Forest, jeden z posledních modelů, čili již s integrovoánou Picatinny šínou. Takové ty dva můstky přímo na těle závěru .
Nenapadlo ho nic lepšího, než si k tomu koupit Yukon Photon 6x50.
A já mu k tomu mám vybrat montáž. Koukal jsem na internet a napadla mě jen tahle.
https://www.naboje-prebijeni.cz/montaz- ... tubus-30mm
No ale stále si nejsem jistý. Máte někdo nějaký jiný nápad ?? Dělají se 3 modely, které se liší výškou. Tento je ten nejvyžší, ale nestačil by ten prostřední?
Předem děkuji.
Nenapadlo ho nic lepšího, než si k tomu koupit Yukon Photon 6x50.
https://www.naboje-prebijeni.cz/montaz- ... tubus-30mm
No ale stále si nejsem jistý. Máte někdo nějaký jiný nápad ?? Dělají se 3 modely, které se liší výškou. Tento je ten nejvyžší, ale nestačil by ten prostřední?
Předem děkuji.
Mannlicher SM 12 LH 9,3*62 + Meostar R2 2.5-15x56 +Blaser Dual Brake
Blaser R93 Left Hand Semi Weith 8*57 IS + HIKMICRO Alpex
Blaser R93 Left Hand Semi Weith 8*57 IS + HIKMICRO Alpex
Re: Sauer 202
Důležitá je nejen výška kroužků, ale i poloha okuláru Photonu vůči oku. Obávám se, že budeš potřebovat nějakou jednodílnou offset montáž, která ti umožní vynést Photon dozadu blíž k oku, bo jinak bude kamarád potřebovat ještě labutí krk 
Re: Sauer 202
Dokázal by někdo poradit, případně vyfotit detail připojení kovového konce předpažbí
celopažby S 202 ?
Mám předpažbí , mám kovový nos předpažbí, ale nemám do čeho šroubovat šroubek co ten kovový konec má držet. Moc děkuju.
celopažby S 202 ?
Mám předpažbí , mám kovový nos předpažbí, ale nemám do čeho šroubovat šroubek co ten kovový konec má držet. Moc děkuju.
Re: Sauer 202
Po poměrně nesnadném hledání se zatím přikláním k hypotéze, že koncovka je šroubována přímo do hlavně tak jako mířidla.
ve všech dostupných manuálech je pouze poznámka , že demontovat má
puškař...
ve všech dostupných manuálech je pouze poznámka , že demontovat má
puškař...
Re: Sauer 202
Předpažbí je klasicky jako u polopažby na šroubu.
Vše se tváří, že nikde nic nechybí, továrně asi nebyl problém udělat do hlavně jeden závit navíc ?
Vše se tváří, že nikde nic nechybí, továrně asi nebyl problém udělat do hlavně jeden závit navíc ?
- Georg.H
- Zkušený diskutér
- Příspěvky: 940
- Registrován: ned 23.12.2007, 23:43
- Bydliště: Slezsko
- Kontaktovat uživatele:
Re: Sauer 202
No a ještě mi řekni jak jsi k tomu přišel ze to máš rozebrané?
To jsi ty rozdělal něco jsi to tak koupil
To jsi ty rozdělal něco jsi to tak koupil
-
Josef Kuřitka
- Zkušený diskutér
- Příspěvky: 1082
- Registrován: stř 27.9.2006, 17:15
- Bydliště: Brno
Re: Sauer 202
Věřím všemu, jen né tomu, že tam má být se spodu hlavně díra. Sauerku 202 jsem měl a nikdy jsem neregistroval, by se kupovaly výměnné hlavně s dírou a bez díry, podle předpažbí. Navíc mě zaráží, kde máš poutko na řemen. U klasické polopažby, bylo ze předu na předpažbí na takovém vycvakávacím bazmeku. To poutko na řemen je divně! Není to štuc?
Toto je klasika
https://www.youtube.com/watch?v=dRLj0r5Wu_k
Tak jsem pátral dál a pokud je to S 202, tak to předpažbí sedí spíše víc na štuc!?
https://www.e-myslivost.cz/detail/zbran ... gance.html
Podle mě tam bude nějaká protimatka. Nemyslím, že by to Němci zabili tím, že na výměnné hlavni u štucu bude prach sprostý červík a díra v laufu , kvůli třem cm koncovky. Byli by za blbce.
Toto je klasika
https://www.youtube.com/watch?v=dRLj0r5Wu_k
Tak jsem pátral dál a pokud je to S 202, tak to předpažbí sedí spíše víc na štuc!?
https://www.e-myslivost.cz/detail/zbran ... gance.html
Podle mě tam bude nějaká protimatka. Nemyslím, že by to Němci zabili tím, že na výměnné hlavni u štucu bude prach sprostý červík a díra v laufu , kvůli třem cm koncovky. Byli by za blbce.
Re: Sauer 202
PTB - Ak má tá kovová koncovka pre červík závit, tak fiksáciu bude zabezpečovať protitlak o hlaveň (čiže podobne ako je to pri kľučke na dverách) . 
308 Win.;223 Rem.;22 l.r. .
Re: Sauer 202
Je to předpažbí štuc, v prvním příspěvku jsem napsal
celopažba .
Chtěl jsem nějakou změnu takže jsem to koupil na Egunu,
Krátkou hlaveň mám, taky jsem nikdy nepotkal hlaveň s dirkou ze spodu.
Mám Sauerů 202 8 ks ,medium i magnum, s různými typy
Pažbení, ale vše polopažba a teď jsem narazil na něco
co neznám a nejsem schopen to nikde najít, proto prosba
o pomoc.
celopažba .
Chtěl jsem nějakou změnu takže jsem to koupil na Egunu,
Krátkou hlaveň mám, taky jsem nikdy nepotkal hlaveň s dirkou ze spodu.
Mám Sauerů 202 8 ks ,medium i magnum, s různými typy
Pažbení, ale vše polopažba a teď jsem narazil na něco
co neznám a nejsem schopen to nikde najít, proto prosba
o pomoc.
-
dalas
- Administrátor
- Příspěvky: 3515
- Registrován: úte 25.9.2007, 8:08
- Bydliště: Brno, honitba Žďársko
Re: Sauer 202
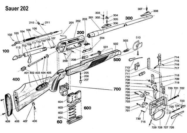
Myslím, ze je to v tom rozkresu jasné. Koncovka je uchycena šroubkem do dílu 503, který je šroubován zepředu do předpažbí. Dle mého názoru se hloubkou zašroubování dílu 503 lícuje koncovka k předpažbí.
Tikka T3 Varmint 308W, Weatherby Mark V Accumark .300Win. Mag., IZH94 12x76/308W, IZH 27 EM 12x76/12x76, Suhl 150 Standard .22LR
Re: Sauer 202
Bohužel to tak není, díl 503 v rozkresu je šroubovací vložka do polo předpažbí pro vložení rychloupínacího poutka. To celopředpažbí má pouze drážku na imbusový klíč pro demontáž předpažbí.
Re: Sauer 202
dalas - Poz.503 platí len pre polopažbu: " 503 Sling attachment bushing for front stock"
(Treba vyskúšať ten spôsob " ako pri kľučke ").
(Treba vyskúšať ten spôsob " ako pri kľučke ").
308 Win.;223 Rem.;22 l.r. .
Re: Sauer 202
lanus - ta koncovka závit nemá a šroubek který jsem obdržel je delší takže to prostě vypadá jako by měl jít do hlavně.
celou věc by hravě vyřešil majitel celopažby, ale o žádném nevím, pak asi i dotaz do Sauera ale to jazykově nedám a vysvětlovat to s pomocí google překladače nebude
to pravé ořechové
celou věc by hravě vyřešil majitel celopažby, ale o žádném nevím, pak asi i dotaz do Sauera ale to jazykově nedám a vysvětlovat to s pomocí google překladače nebude
to pravé ořechové